Групповой бег на лыжах

Страницы: 1 2 3  ОТВЕТИТЬ НОВАЯ ТЕМА
Мундиаль 3 янв 2025 в 18:32
Ярила  •  На сайте 7 лет
1
Среднему можно педали не крутить
LazyAlex 3 янв 2025 в 18:42
Шутник  •  На сайте 3 года
0
Цитата (depeche69 @ 3.01.2025 - 18:28)
Цитата (AloneSl @ 3.01.2025 - 19:41)
- давайте хоть ногу сменим, а то это ебля получается!


Когда шли строем после завтрака на территорию хранилища (около 2 км), то умудрялся еще поспать минут 15.
OVELA 4 янв 2025 в 01:16
Приколист  •  На сайте 16 лет
0
Смешанный забег куда бы интереснее был. Девочка- мальчик-девочка-мальчик

Размещено через приложение ЯПлакалъ
trezege 30 авг 2025 в 20:03
Ярила  •  На сайте 9 лет
18
Вот, например



Размещено через приложение ЯПлакалъ
Firkantbukse 30 авг 2025 в 20:06
Приколист  •  На сайте 1 год
7
Сразу вспомнил фильм который не смотрел - человеческая...
andr310 30 авг 2025 в 20:07
Приколист  •  На сайте 11 лет
1
Там тройка должна была упасть

Размещено через приложение ЯПлакалъ
bereg79 30 авг 2025 в 20:08
Хохмач  •  На сайте 11 лет
11
Не, ну китайцев много, а так втрое больше людей в соревнованиях поучаствуют gigi.gif
ADAWolf 30 авг 2025 в 20:08
Ярила  •  На сайте 4 года
7
Хм, я помню весёлые старты в пионерском лагере, также бегали, развивает командное взаимодействие

Размещено через приложение ЯПлакалъ
Рециркулятор 30 авг 2025 в 20:09
Понечётный железный дорожник  •  На сайте 15 лет
4
Это не усложнение, а слаженность. Умение работать в команде.
jfhgdjlhgls 30 авг 2025 в 20:10
Ярила  •  На сайте 1 год
0
Лыжный триотлон ))
vlpavlenko 30 авг 2025 в 20:12
Хохмач  •  На сайте 16 лет
1
Навевает мысли о некоем общественном транспорте. Человек на 10, вполне себе бесплатная маршрутка, бабушек и беременных в середину "салона" поздоровей вперед и назад biggrin.gif
zulumbija 30 авг 2025 в 20:12
Ярила  •  На сайте 12 лет
0
Вот в чем прикол такого?
tribun11 30 авг 2025 в 20:16
Хохмач  •  На сайте 10 лет
0
Человеческая многоножка .
Тоже не смотрел .

Это сообщение отредактировал tribun11 - 30 авг 2025 в 20:16
MonteCarlo13 30 авг 2025 в 20:17
Ярила  •  На сайте 3 года
0
Цитата (vlpavlenko @ 30.08.2025 - 20:12)
Навевает мысли о некоем общественном транспорте. Человек на 10, вполне себе бесплатная маршрутка, бабушек и беременных в середину "салона" поздоровей вперед и назад

Зимой выдать палки)

Размещено через приложение ЯПлакалъ
RVstrax 30 авг 2025 в 20:17
Ярила  •  На сайте 15 лет
1
вы угораете? в школах СССР так на лыжах бегали
еще и в мешках прыгали и тп
RVstrax 30 авг 2025 в 20:18
Ярила  •  На сайте 15 лет
0
Цитата (zulumbija @ 30.08.2025 - 21:12)
Вот в чем прикол такого?

работа в связке и слаженность отработка команд и действий
Vinnipyh 30 авг 2025 в 20:18
Юморист  •  На сайте 5 лет
1
«Стою на асфальте я в лыжи обутый. Толь лыжи не едут, толь я – долбанутый»,
RVstrax 30 авг 2025 в 20:19
Ярила  •  На сайте 15 лет
1
вы еще про греблю вспомните
когда группа с мехприводом одновременно гребет в помещении на полу))

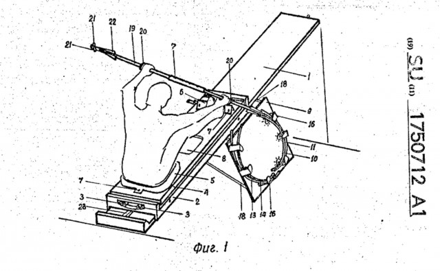
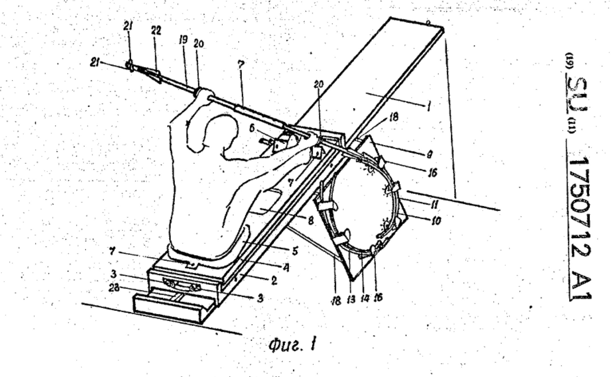
как пример Патент для байдарочников есть и такое для групп

Групповой бег на лыжах

Это сообщение отредактировал RVstrax - 30 авг 2025 в 20:22
ralex64r 30 авг 2025 в 20:28
Ярила  •  На сайте 11 лет
0
Давайте хотя бы в ногу, а то какая-то фигня получается

Размещено через приложение ЯПлакалъ
kanovin 30 авг 2025 в 20:31
Ярила  •  На сайте 9 лет
0
Никогда не видел упражнение "пешим по танковому" ? Только там несколько попроще и помедленнее.
Конрад23rus 30 авг 2025 в 20:32
Ярила  •  На сайте 7 лет
0
лучше бы бег в мешках практиковали.

Размещено через приложение ЯПлакалъ
fairplay8 30 авг 2025 в 20:38
Ярила  •  На сайте 4 года
0
Километров бы на 10 такой забег посмотреть, с усталостью тяжело будет синхронность держать.

Размещено через приложение ЯПлакалъ
Basilio7223 30 авг 2025 в 20:49
Хуй забей  •  На сайте 11 лет
0
В русской команде были бы спортсмены с именами Бегибля и Бегубля
YourBunnyWro 30 авг 2025 в 21:07
Ярила  •  На сайте 9 лет
0
да втроем даже три дурака сумеют
пускай всем полком побегают
Ступед 30 авг 2025 в 21:44
Ярила  •  На сайте 7 месяцев
0
Даже не досмотрел. Лыжи-снег. Фсё.

Размещено через приложение ЯПлакалъ
Понравился пост? Ещё больше интересного в ЯП-Телеграм и ЯП-Max!
Только зарегистрированные и авторизованные пользователи могут оставлять комментарии. Авторизуйтесь, пожалуйста, или зарегистрируйтесь, если не зарегистрированы.
1 Пользователей читают эту тему (1 Гостей и 0 Скрытых Пользователей) Просмотры темы: 7 791
0 Пользователей:
Страницы: 1 2 3  ОТВЕТИТЬ НОВАЯ ТЕМА

 
 

Активные темы



Наверх